Tesla запатентовала систему очистки стёкол с помощью лазера
Стеклоочистители являются незаменимой, но довольно архаичной системой транспортных средств. Несомненно, они научились работать автоматически по команде датчика дождя, но в их конструкции мало что изменилось за последние десятилетия. Tesla пытается предложить инновационные методы очистки стёкол не только в автомобилях, но и в системах генерации электроэнергии при помощи солнечных панелей.
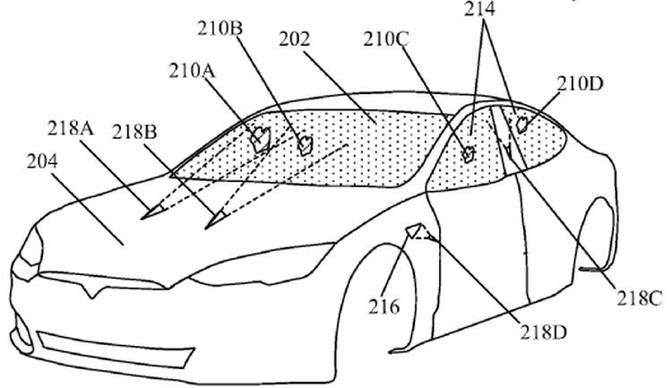
Соответствующий патент удалось обнаружить ресурсу Electrek в базе американского ведомства USPTO. Оно удовлетворило заявку Tesla на регистрацию патента, описывающего метод удаления загрязнений со стеклянной поверхности при помощи лазерных импульсов.
Совокупность датчиков и излучателей, по замыслу американских инженеров, должна способствовать удалению загрязнений с отдельных областей ветрового стекла, посылая направленные импульсы лазерного излучения регулируемой мощности.

Источник изображения: Electrek
В патенте упоминаются и боковые стёкла электромобиля — нельзя исключать, что система очистки будет предусмотрена и для них. Одновременно Tesla предполагает использовать такую систему на солнечных панелях. Известно, что слой пыли и грязи способен существенно снизить эффективность работы солнечных батарей, поэтому в сфере энергетики описываемый патент может найти не менее актуальное применение.



















